JUMBO verstelbaar oprolsysteem 640 - 860 cm

JUMBO verstelbaar oprolsysteem 640 - 860 cm

JUMBO vast verstelbaar oprolsysteem 540 - 710 cm

JUMBO vast verstelbaar oprolsysteem 540 - 710 cm

JUMBO mobiel verstelbaar oprolsysteem 540 - 710 cm - 2WD

€ 1.099,00

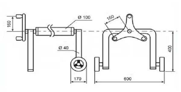
Deze JUMBO op 2 wiel voorziene oprolsysteem voor zwembadafdekking kan voor elke zwembadvorm gebruikt worden.

Het oprolsysteem is geschikt voor afdekkingen van 5,40 - 7,10 meter breedte en 15 meter in lengte.

Bij een ovaal zwembad kan de lier in het midden van het zwembad worden geplaatst en kan de zwembadafdekking in beide richtingen tegelijk worden uitgerold. De lier heeft geen opbouw- en montage voorbereiding nodig.

Beschikbaarheid:
Op voorraad
SKU
10530

 

 

 

Levering van de JUMBO 2WD oprolsysteem is inclusief

  • RVS standaard met 2 wielen.
  • Telescoopsteel 5,4 - 7,1 m.
  • Set zeilclips (9 stuks).
  • Afrolbeveiliging voorkomt rotatie van de stang.

Clips voor zwembadafdekking

De bij de haspel geleverde clips zijn 150 cm lang. Elke spanband is aan de ene zijde voorzien van een kunststof rol voor bevestiging aan de lier en aan de andere zijde voorzien van een kunststof onderdeel voor bevestiging aan de zwembadafdekking.

 
Meer informatie
SKU 10530
Kleur RVS
Merk Vagner
Breedte cm 60
Hoogte cm 40
Lengte cm 540-710
Land van productie Tsjechië
Schrijf uw eigen review
Alleen geregistreerde gebruikers kunnen reviews schrijven. Log in of maak alstublieft een account aan. inloggen of maak een account aan
WhatsApp Chat WhatsApp Chat